Ma'anshan City Langxi Heavy Industry Machinery Technology Co., Ltd.
Ma'anshan City Langxi Heavy Industry Machinery Technology Co., Ltd.

EHT (European Hydraulic Press Brake Technology) produce la herramienta de freno de prensa EHT de alta calidad desarrollada con precisión. EHT tiene la reputación de crear soluciones de herramientas de vanguardia que se adaptan a los diversos requisitos de los procesos de flexión de chapa metálica contemporáneos. Sus herramientas de freno de prensa están hechas para ser increíblemente robustas, adaptables y capaces de producir resultados con gran precisión en una variedad de aplicaciones de flexión.

Tipos de herramientas de freno de prensa de freno EHT al por mayor

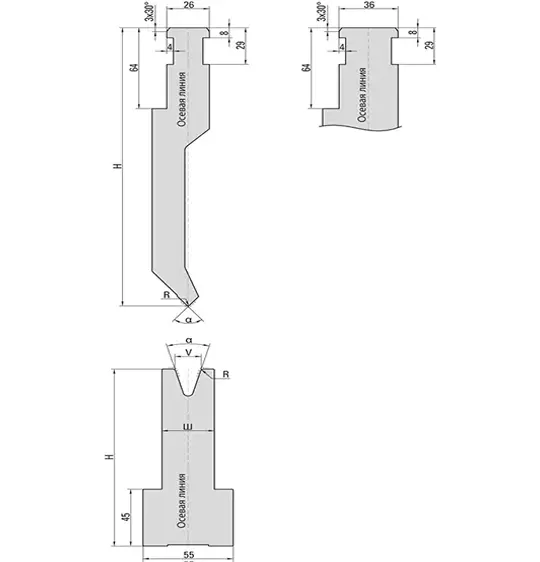
Producto de EHT Brake
Producto de EHT Brake
Uno de los productores de sofisticados frenos de prensa, UNT tiene su exclusivo sistema de sujeción de herramientas. Estamos preparados para entregar las herramientas Premium requeridas con fijación UNT a su producción tan pronto como feari...
Leer más

¿Cuáles son los beneficios del uso de herramientas de freno de prensa de freno EHT?

  • Alta precisión

    Las herramientas de freno de prensa EHT están diseñadas para ofrecer una precisión excepcional, asegurando que cada curva sea precisa y consistente. Este alto nivel de precisión ayuda a lograr una calidad superior en sus productos terminados.

  • Durabilidad

    Construido endurecidos con materiales de alta calidad, las herramientas EHT están diseñadas para soportar los rigores del uso continuo. Esta durabilidad se traduce en una vida útil más larga y una menor necesidad de reemplazos frecuentes, lo que le ahorra tiempo y dinero.

  • Versatilidad

    EHT ofrece una amplia gama de opciones de herramientas que pueden manejar varias operaciones de flexión, desde curvas simples hasta procesos complejos de múltiples etapas. Esta versatilidad lo hace adecuado para diversas aplicaciones y materiales de fabricación.

  • Productividad mejorada

    Diseñado para mejorar la eficiencia operativa, las herramientas de freno de prensa EHT permiten tiempos de configuración más rápidos y operaciones más fluidas. Esto conduce a una mayor productividad y rendimiento, lo que le permite cumplir con los programas de producción ajustados.

  • Resultados consistentes de alta calidad

    Con las herramientas EHT, puede esperar resultados consistentes y de alta calidad con cada uso. La precisión y fiabilidad de nuestras herramientas garantizan que cada pieza cumpla con sus especificaciones exactas, reduciendo el desperdicio y el retrabajo.

¿Las herramientas de freno EHT pueden manejar operaciones de flexión complejas?


Sí.

Las herramientas EHT están diseñadas específicamente para manejar operaciones de flexión complejas, incluida la flexión de múltiples etapas, el doblado y otros procesos intrincados. Nuestras soluciones de herramientas avanzadas están diseñadas para garantizar precisión, eficiencia y confiabilidad, lo que las hace ideales para una amplia gama de necesidades de fabricación. Ya sea que se trate de curvas simples o tareas altamente complejas, las herramientas de EHT están diseñadas para ofrecer un rendimiento excepcional y cumplir con los requisitos de producción más exigentes.

¿Las herramientas de freno EHT pueden manejar operaciones de flexión complejas?

¿Necesitas una cotización? ¿Quieres saber más sobre nuestros productos de fabricación de chapa? Llenar el formulario

A continuación y nuestro equipo se pondrá en manos de usted en 24 horas.

What you'll get:

  • Receive custom equipment solutions and pricing.

  • A professional consultant will reply within one working day.

  • Get a free equipment selection guide and success stories.

  • Inquiring customers enjoy equipment discounts.